Google hat einen neuen Patentantrag eingereicht, der das Mikrofon und den Lautsprecher sowohl auf der Unterseite als auch auf der Oberseite des Smartphones vorsieht.
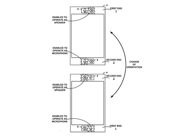
Diese Skizze zeigt die Position des Lautsprechers und des Mikrofons bei Lageänderung des Smartphones. Foto: uspatentoffice.
Das meist symmetrische Design von Smartphones kann im Dunkeln oder beim schnellen Greifen des Telefons, beispielsweise wenn es läutet, leicht dazu führen, dass man das Smartphone verkehrt herum in die Hand nimmt. Der Lautsprecher ist bei einem Smartphone allerdings meist auf der Oberseite eingebaut und das Mikrofon meist auf der Unterseite, so ist ein Telefonieren bei falsch herum gehaltenen Geräten nicht möglich. Google möchte nun dieses Problem mit seinem Patentantrag beseitigen. Das Patent sieht sowohl einen Lautsprecher als auch ein Mikrofon auf der Unterseite sowie auf der Oberseite des Gerätes vor. Je nachdem, wie das Smartphone gehalten wird, fungiert entweder die Oberseite als Lautsprecher und Unterseite als Mikrofon oder umgekehrt. Die Orientierung des Smartphones wird mithilfe des Lagesensors berechnet, aus dieser Information ergibt sich, welche Seite des Smartphones als Lautsprecher bzw. Mikrofon fungiert.
Was denkt ihr, erleichtert diese Funktion den Umgang mit dem Smartphone oder haltet ihr diese Funktion für überflüssig? Teilt uns eure Meinung in den Kommentaren mit!
Quelle: US-Patent Office via Engadget














